产品展示 PRODUCT
联系我们 contact

联系人:陈总
电 话:18190880883
地 址:重庆市潼南高新区环保科技产业园D08-01/01地块
CD型长袋脉冲袋式除尘器
一、概述
CD系列长袋脉冲袋式除尘器属于新一代脉冲袋式除尘技术,是我公司研制开发的满足大风量烟气净化的先进脉冲除尘器,不但具有喷吹脉冲除尘器的清灰能力强、除尘效率高、排放浓度低等特点,还具有稳定可靠、能耗低、占地面积小的特点,特别适合处理大风量的烟气。其多方面的优点逐渐为众多用户所认识,受到广泛的欢迎,已经为炼钢电炉、锅炉、电石炉、高炉煤气净化、煤粉制备和气力输送、沥青混凝土生产、碳黑、建材、耐火、化工、铝电解、铝锌冶炼等领域所采用,被国家环保列为最佳实用技术项目,并被国家科委列为国家科技成果重点推广项目。
二、 CD长袋脉冲袋式除尘器工作原理
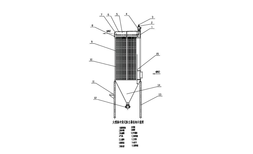
CD长袋脉冲袋式除尘器主要由上箱体、中箱体、灰斗、卸灰系统、喷吹系统和控制系统等几部分组成,并采用下进气分室结构。含尘烟气由进风口经中箱体下部进入灰斗;部分较大的尘粒由于惯性碰撞、自然沉降等作用直接落入灰斗,其它尘粒随气流上升进入各个袋室。经滤袋过滤后,尘粒被阻留在滤袋外侧,净化后的气体由滤袋内部进入箱体,再通过提升阀、出风口排入大气。灰斗中的粉尘定时或连续由螺旋输送机及刚性叶轮卸料器卸出。随着过滤过程的不断进行,滤袋外侧所附积的粉尘不断增加,从而导致袋除尘器本身的阻力也逐渐升高。当阻力达到预先设定值时,清灰控制器发出信号,首先令一个袋室的提升阀关闭以切断该室的过滤气流,然后打开电磁脉冲阀,压缩空气由气源顺序经气包、脉冲阀、喷吹管上的喷嘴以极短的时间( 0.065~0.085秒)向滤袋喷射。压缩空气在箱内高速膨胀,使滤袋产生高频振动变形,再加上逆气流的作用,使滤袋外侧所附尘饼变形脱落。在充分考虑了粉尘的沉降时间(保证所脱落的粉尘能够有效落入灰斗)后,提升阀打开,此袋室滤袋恢复到过滤状态,而下一袋室则进入清灰状态,如此直到最后一袋室清灰完毕 为一个周期。 CD长袋脉冲袋式除尘器是由多个独立的室组成的,清灰时各室按顺序分别进行,互不干 扰,实现长期连续运行。上述清灰过程均由清灰控制器进行定时或定压自动控制。
三、 CD长袋脉冲袋式除尘器的基本结构
CD长袋脉冲袋式除尘器的主体结构由上箱体、中箱体、袋室、灰斗、卸灰装置、喷吹装置、和控制仪几大部分组成。并配有基础支柱、爬梯、栏杆、检修门等等,并可根据用户要求选配先进的设备运行监测系统。

四、 CD长袋脉冲袋式除尘器的主要性能特点
● 高可靠性设计,保证袋除尘器随主机长期稳定运行,维护工作极少;
● 高适用性设计,袋除尘器可适应含尘气体性质的大范围波动,并可根据用户情况做适应性非标设计;
● 特殊的结构设计加上严格的滤料及零部件选用,可满足极为严格的环保要求,袋除尘器的排放可确保低于50mg/Nm 3 ;
● 优化的进出风道设计,有利于均匀的气流分布;
● 防漏风设计,保证袋除尘器的漏风率降至最低(<4%);
● 全钢分体结构设计,便于设备的运输及安装,并保证设备的制造精度;
● 分室脉冲三状态清灰技术,保证最佳的清灰强度及效果;
● 除尘器停机自清系统,确保除尘器始终处于最佳工作状态;
● 定阻和定时联合清灰方式及可编程控制系统(PLC);
● 自动超温报警和紧急降温控制;
● 独有的非线性均流静压喷管,确保喷吹均匀;
● 可选独立卸灰控制系统;
● 提供集中控制(DSC远程控制)和机旁控制两种选择;
● 长寿命设计,主体设备按照使用寿命15年以上进行设计制造;
● 低运行费用,优化的工艺参数设计,有利于袋除尘器低阻高效稳定运行,降低系统能耗,同时有效减轻了滤袋的损耗及维护工作;
● 采用高品质零部件,提高设备运行可靠性,减少维护工作;
● 全部采用高品质的滤袋及附件,滤袋平均寿命一般超过18个月;
● 特殊灰斗设计,粉尘卸出无障碍;
● 标准化设计,可减少用户备品备件的储存量;
五、选型
1.型号说明

2.选型参数及选型原则
(1) 收尘器的主要技术参数为风量、气体温度、含尘浓度与湿度。根据工艺设计的风量、气体 温度、含尘浓度的最高数值,按略小于技术性能表中的数值为原则,其相对的收尘器型号,即为所 需要的收尘器型号,采用的滤料则根据入口浓度、气体温度、湿含量确定。
(2) 压缩空气耗量栏中,所提出的耗气量为该型号设备的最大耗气量。
(3) 当系统负压超过6000Pa时,如选用时,需要事先说明,以便加强壳体强度和刚度。
(4) 可根据工艺需要设置收尘器灰斗卸料系统。
六、 CD长袋脉冲袋式除尘器产品性能参数表
表1
|
技术参数 型号 |
CD340-4 |
CD340-5 |
CD340-6 |
CD340-7 |
CD340-8 |
CD340~9 |
|
处理风量(104m3/h) |
8.16~16.32 |
10.20~20.40 |
12.24~24.48 |
14.28~28.56 |
16.32~32.64 |
18.36~36.72 |
|
总过滤面积(m2) |
1360 |
1700 |
2040 |
2380 |
2720 |
3060 |
|
收尘室数(个) |
4 |
5 |
6 |
7 |
8 |
9 |
|
滤袋总数(条) |
560 |
700 |
840 |
980 |
1120 |
1260 |
|
滤袋规格 |
Φ160×6000 |
|||||
|
滤袋材质 |
根据烟气性质选用 |
|||||
|
过滤风速(m/min) |
1.0~2.0 |
|||||
|
承受负压(Pa) |
≤6000 |
|||||
|
收尘器阻力(Pa) |
800-1700 |
|||||
|
漏风率(%) |
≤5 |
|||||
|
允许入口气体 |
<230 |
|||||
|
入口浓度 (g/m3n) |
<60 |
|||||
|
出口浓度 (mg/m3n) |
<50 |
|||||
|
收尘效率(℃) |
>99.8 |
|||||
|
喷吹压力(MPa) |
> 0.3 |
|||||
|
设备总重(t) |
43.5 |
54.4 |
65.3 |
78.54 |
89.7 |
101 |
表2
|
技术参数 型号 |
CD340-2×4 |
CD340-2×5 |
CD340-2×6 |
CD340-2×7 |
CD340-2×8 |
CD340~2×9 |
|
|
处理风量(104m3/h) |
16.32~32.64 |
20.4~40.8 |
24.48~48.96 |
28.56~57.12 |
32.64~65.28 |
36.72~73.44 |
|
|
总过滤面积(m2) |
2720 |
3400 |
4080 |
4760 |
5440 |
6120 |
|
|
收尘室数(个) |
8 |
10 |
12 |
14 |
16 |
18 |
|
|
滤袋总数(条) |
1120 |
1400 |
1680 |
1960 |
2240 |
2520 |
|
|
滤袋规格 |
Φ160×6000 |
||||||
|
滤袋材质 |
根据烟气性质选用 |
||||||
|
过滤风速(m/min) |
1.0~2.0 |
||||||
|
承受负压(Pa) |
≤6000 |
||||||
|
收尘器阻力(Pa) |
800-1700 |
||||||
|
漏风率(%) |
≤5 |
||||||
|
允许入口气体 |
<230 |
||||||
|
入口浓度 (g/m3n) |
<60 |
||||||
|
出口浓度 (mg/m3n) |
<50 |
||||||
|
收尘效率(℃) |
>99.8 |
||||||
|
喷吹压力(MPa) |
> 0.3 |
||||||
|
设备总重(t) |
87 |
108 |
131 |
152.3 |
179.5 |
196 |
|
表3
|
技术参数 型号 |
CD920-2×2 |
CD920-2×3 |
CD920-2×4 |
CD920-2×5 |
CD920-2×6 |
CD920~2×7 |
CD920~2×8 |
|
|||
|
处理风量(104m3/h) |
20.26~33.39 |
33.36~50.04 |
44.46~66.69 |
55.56~83.34 |
66.72~100.08 |
77.82~116.73 |
88.92~133.38 |
||||
|
总过滤面积(m2) |
3710 |
5560 |
7140 |
9260 |
11120 |
12970 |
14820 |
|
|||
|
收尘室数(个) |
4 |
6 |
8 |
10 |
12 |
14 |
16 |
|
|||
|
滤袋总数(条) |
560 |
700 |
840 |
980 |
1120 |
1260 |
1400 |
|
|||
|
滤袋规格 |
Φ160×6000 |
|
|||||||||
|
滤袋材质 |
根据烟气性质选用 |
|
|||||||||
|
过滤风速(m/min) |
1.0~1.5 |
|
|||||||||
|
承受负压(Pa) |
≤6000 |
|
|||||||||
|
收尘器阻力(Pa) |
800-1700 |
|
|||||||||
|
漏风率(%) |
≤5 |
|
|||||||||
|
允许入口气体 |
<230 |
|
|||||||||
|
入口浓度 (g/m3n) |
<60 |
|
|||||||||
|
出口浓度 (mg/m3n) |
<50 |
|
|||||||||
|
收尘效率(℃) |
>99.8 |
|
|||||||||
|
喷吹压力(MPa) |
> 0.3 |
|
|||||||||
|
设备总重(t) |
129.8 |
194.6 |
252 |
315 |
367 |
428 |
489 |
|
|||
七、安装及调试
1、 安装设备的场地要求平整,基础按除尘器样本要求设置。
2、 滤袋安装好后要注意避免脚踏、物压袋口,以免造成将来滤袋脱落。
3、 放置框架的过程中,保持框架与花板面垂直,不使偏斜,以免使滤袋脱落或损坏袋口造成漏气。
4、 设备安装好后,应清除灰斗内杂物,将上盖及各检查门关闭。向减速机内注入30号机油。
5、 先用手转动螺旋输灰机与电机之间的联轴节,无异常再点动送电。并注意观察螺旋旋转方向是否正确。转动其它部件前(如进出口阀)亦应检查。
6、 向喷吹系统稳压气包送入压缩空气,若有漏气需及时处理。
7、 接通清灰控制部份,应查看脉冲阀开闭是否正常,若发现异常可按后面故障排除方法处理。
8、 除尘器及整个除尘系统安装完毕后,应进行整机试车,使含尘烟气通入系统,检查除尘进口温度,进出口压差,喷吹清灰情况及排灰装置工作情况。当各主要参数符合性能要求,电机温升不超过允许值时,即可投入正常生产使用。
9、 为了便于观察除尘器运行情况,用户应安装“U”型压力计,压力计两端分别用胶管与除尘器进出风口测压管连接。“U”型管内有水可加入少许颜色以便观察。
10、 供清灰用的压缩空气经气水分离器脱去水各油。除尘器气包前应设置带有安全阀,压力表和排污阀的储气罐,稳压气包前应装截止阀。
八、维护保养
1、 除尘器投入运行后,就有专人管理,管理人员应熟悉除尘器工作原理及性能,掌握调试维修方法建立运行记录。
2、 定期更换失效的密封填料。
3、 稳压气包入口处的气水分离器及储气罐每班排污一次,安全阀每年校验一次。气水分离器的滤料每半年调换一次。
4、 经常检查喷吹系统的工作情况。当膜片、弹簧、电磁阀等零件损坏时应及时更换。更换应关闭截止阀,排出稳压气包的压缩空气,防止发生意外。
5、 定期检查喷吹管的“O”形密封圈,发生老化,脱落、变形及时调换。
6、 经常注意“U”形压力设计数,出现异常及时查明原因,排出故障。
7、 定期观察系统排风品,若发现排风口浓度明显增加,必须停机检查。
8、 减速机,各转动部件及螺旋轴承应定期注油,定期更换易损件。
9、 应经常保持环境清洁,设备完好,保证除尘系统的正常运行。